Phrenology and the Psycograph
Ellen R. Kuhfeld, PhD

In 1798, Dr. Franz Joseph Gall first subdivided the brain into 26 areas and founded the science of phrenology. He assumed the contours of the skull would reflect the development of the brain beneath, with brain volume related to the strength of that particular mental function.

"A large muscle," said Gall and his student Spurzheim, "is stronger than a smaller one, and a large loadstone is more powerful than a smaller one; why should it not be the same with the brain?"(1) Gall, Spurzheim, and their followers set out to measure the cranial configurations of people of marked character and ability.

"I ranged the quarrelsome on one side, and the peaceable on the other, and examined carefully the heads of both. I found that in all the former the head, immediately behind and on a level with the top of the ears, was much broader than in the latter."(2)

The phrenological argument was simple. People had diverse mental capacities called faculties. These included "the lower propensities or ... the higher sentiments" as well as "the intellectual powers."(3) These faculties were localized in the brain. The strength of their expression was related to the size of that portion of the brain. This in turn affected the contours ("development") of the surface of the skull.

In short, phrenologists claimed to have found a detailed correlation between character, ability, and the shape of the skull. Furthermore, they offered to evaluate the mental and moral characteristics of individuals thereby. They set it all down as a consistent corpus of charts, drawings, and books. Even their strongest opponents conceded this straight-forwardness, and agreed phrenology was amenable to proof or disproof.(4)

Both friends and foes of phrenology agreed it was subject to proof. Both claimed to have put it to the test and found their view supported. Neither side won conclusively, and phrenology proved remarkably long-lived.

The strongest argument against phrenology was the propensity of its practitioners to flatter, and to trim their analyses to the situation and character of the subject. Even the most impeccably honest phrenologists were suspect, for the ability of people to see what they expect to see has been proven throughout history.(5) Lacking was an unimpeachable methodology, accurate and without bias.

In short, a "mechanical phrenologist" was needed, one with no expectations or emotional involvement.

Enter Henry C. Lavery, of Superior, Wisconsin. In 1905 he patented just such a machine. In 1931 (after long development) The Psycograph Company of Minneapolis was formed to manufacture and distribute it.(6)

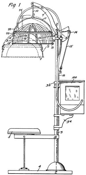
The psycograph is in three main units. There is a base, with chair for the subject and support column for the helmet and printout mechanism. The measuring helmet is a metal framework with locators to position it repeatably on the head. There are thirty-two feelers automatically adjusting to the contours of the skull. Each indicates its position on a five-pole wiper switch. Finally there is the recording box, housing a mechanism for automatic printout of the readings. It contains an endless chain of some 160 rubber stamps, and a scanning switch rotating as the chain cycles through the mechanism. Whenever the scanner corresponds to the position of one of the skull-feelers, an electrical circuit is completed. A solenoid-driven hammer pushes the appropriate rubber stamp up against a paper strip.

The positions of all thirty-two feelers are printed out in less than a minute, with mini-analyses of that aspect of your personality. An example:

"2 Suavity -- low average -- you do not make enough effort towards expressing consideration of others. Develop by studying how to please others. Exercise tact."

Thirty-three machines were built, and the Minneapolis office flourished.The machines were leased to entrepreneurs throughout the country for $2000 down and $35 per month rental. They were a popular traffic-builder for stores and theaters during the depression.(7)

The psycograph was used for vocational guidance counseling, as the Fowler phrenological establishment had been a century earlier. The Fowlers practiced successfully for decades; the psycograph was used for only a few years. This shows the phrenological utility of a shrewd judge of character above an unbiased machine.(8)

Phrenology today is a forgotten fad. Its legacy remains. Modern scientists study the brain with EEGs, PET scans, SQUID magnetometers, and functional MRI. They trace brain activity rather than sheer bulk, brain patterns as much as localizations. The search continues, for areas, volumes, or patterns within the brain, correlated with mental states and abilities. Researchers still seek out subjects with extraordinary abilities and handicaps, hoping that extremes will make tendencies more obvious.

Phrenology, in short, is a mirror-image of alchemy. The alchemists' goals and patterns of thought are alien to us, and forgotten. The data they collected grew into the modern science of chemistry. Today the data of phrenology are scorned; but its goals and procedures are alive in the study of the brain and mind.

This may explain the strangest aspect of the psycograph. Sixty years after it was manufactured, this embodiment of a bankrupt theory still works well and reliably. Phrenology, strictly applied, is a rigorous system of thought. Rigorous thought gives reliable results. The results may be incorrect -- but you can trust them to be what they are. Lavery took phrenology seriously, and did his best by it.

References:

1. On the Functions of the Cerebellum, Drs. Gall, Vimont, and Broussais, translated from the French by George Combe; also Answers to the Objections Urged against Phrenology, Drs. Roget, Rudolphi, Prichard and Tiedemann; by George Combe and Sr. A. Combe (Edinburgh, 1838) pg 237

2. Heads and Headlines: The Phrenological Fowlers, by Madeleine B. Stern, University of Oklahoma Press (Norman, OK, 1971) pg. x

3. Gall, Functions ... (1838) pg 209

4. Ibid, pg 257

5. The Mismeasure of Man, Stephen Jay Gould (New York, 1981)

6. Risse, Guenther B. "Vocational Guidance During the Depression: Phrenology versus Applied Psychology". J. Hist. Behavioral Sciences 12 (1976)

7. Ibid, pg 137

8. Ibid, pg 131

Home